Do Amazon’s Movement-Tracking Wristbands Violate Workers’ Privacy Rights?

A look at the legal precedents shows Amazon could get into trouble with its newly patented devices.

By Dariush Adli edited by Dan Bova Jun 14, 2018
United States Patent and Trademark Office

Opinions expressed by Entrepreneur contributors are their own.

The U.S. Patent and Trademark Office recently granted Amazon two patents directed to remote control of human hands. The Amazon patents are able to obtain and record users’ location and the detailed movements of their hands. Therefore, highly private information such as when an employee takes a bathroom break or pauses to scratch may be obtained and recorded by the patented system. That, in turn has led to concerns that the patents could violate protected privacy rights of employees under the Fourth Amendment to the U.S. Constitution. The Fourth Amendment applies to government actions, and would be implicated in a legal challenge to the Amazon patents, since patents are issued and enforced by the government. In addition, Amazon patents can run afoul of state statutes and common law privacy protections, which have adopted similar Fourth Amendment privacy standards.

Related: Here Are 6 Weird Ways You’re Being Tracked in the Real World

Article I Section 8, Clause 8 of the U.S. Constitution, also known as the Patent and Copyright Clause authorizes Congress to grant inventors and authors exclusive rights to their respective inventions and works of authorship for limited periods of time. Under current law, patents enjoy a 20-year monopoly period, backed by the power of Federal Government.

The U.S. Constitution contains no express right to privacy. However, the Supreme Court, in numerous decisions since the 1920s, has relied on the Bill of Rights to carve out certain rights based on privacy considerations. These carved out rights include privacy of a person’s freedom from unreasonable search and seizure under the Fourth Amendment.

The pulse on Amazon’s tracking mechanism

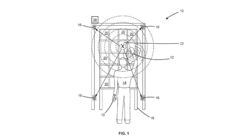
The Amazon patents describe a system and mechanism for tracking and guiding workers’ hands relative to the position of inventory storage bins. The stated aim of the patents is to improve the efficiency of inventory management system by making it faster and easier for workers to accurately locate the bins in which items are stored and retrieve ordered items from them. The Amazon patents criticize existing processes for keeping track of inventory bin locations as uneconomical and inefficient, and find proposed improvements in the form of a computer vision apparatus to track location of inventory bins inadequate as cumbersome and costly.

Instead, the patents propose a system that uses ultrasonic communication to track employee hand movements by sending ultrasonic pulses at predetermined intervals to the worker’s wristband in order to keep track of the relative positions of the worker’s hands and the target inventory storage bins. The patented system directs the worker’s hands toward the correct bin by sending a pulse to alert the worker when the worker’s hands are in close proximity to a target bin.

Related: 12 Privacy Mistakes that Can Cost You Your Job in 2018

Amazon has dismissed potential privacy concerns raised by the implementation of its patents as “speculation” and “misguided.” In a released statement, Amazon analogized its proposed wristband system to handheld scanners, which are in widespread use for checking inventory and for fulfilling customer orders. According to the company, the wristbands and their accompanying mechanism improve efficiency by freeing up employees’ “hands from scanners and their eyes from computer screens.”

The debate regarding the trade-off between privacy and efficiency at workplace is not new. Common worker monitoring techniques, including cameras, employer monitoring and access to employee emails and internet browsing, have been around since the 1990s. However, such concerns have come into renewed focus with the Amazon patents as they potentially cross the currently prevalent arena of surveillance and monitoring of employees into the uncharted territory of directing and even physical control of employees.

The question regarding the Amazon patents is whether they will pass muster in the face of likely challenges to their constitutionality. Challenges to patents duly issued by the U.S. Patent and Trademark Office (USPTO) are not new. Back in 2013, the Supreme Court found genes to be not eligible for patent protection.

The legal precedents

As noted above, because implementation of the Amazon patents in the workplace would involve obtaining potentially private information from employees, they would likely raise concerns about violation of workers’ constitutionally protected privacy rights. Amazon, in turn, has downplayed such concerns and has instead tried to focus the debate on the enhanced efficiency resulting from the introduction of its patented technology.

The U.S. Supreme Court has identified certain factors that courts must consider in determining whether employer monitoring of employees and obtaining information from them passes legal muster. In City of Ontario v. Quon, the Supreme Court affirmed that workers do enjoy Fourth Amendment rights in their workplace to guarantee their “privacy, dignity and security of persons against certain arbitrary and invasive acts” by the government as an employer. Factors, identified in City of Ontario, which courts are to consider in determining the permissible scope of employer intrusion on its employee’s Fourth Amendment rights include: 1. whether the employee has a reasonable expectation of privacy in the information obtained; 2. whether the employer has a legitimate work-related rationale for the intrusion; 3. whether the intrusion is reasonable in scope; 4. availability of less intrusive means to achieve the same purpose; and 5. public acceptance of the conduct.

Related: 10 Ways You’re Being Tracked Without You Knowing It

In City of Ontario, the city had provided its employees with pagers which were used to send and receive text messages to allow employees to be contacted in the event of an emergency. The city’s employee policy manual made clear that the city had the right to access and monitor communications to and from the city issued pagers and that employers should not have any expectation of privacy or confidentiality in using the pagers. When Jeff Quon, a city employee with a city-issued pager, repeatedly exceeded the monthly character limit for use of his pager, the city ordered an audit of his communications to determine if the usage was work related. In conducting the review, the city discovered that most of the messages sent by Quon were not work related but were personal and many were of sexually explicit nature, and proceeded to implement disciplinary measures against Quon. Quon responded by filing suit against the city for violating his Fourth Amendment rights.

Discussing the particular facts and circumstances of the case, the Supreme Court allowed for a certain extent of privacy in communications on the pagers provided by the city but concluded that expecting complete privacy would not be reasonable since Quon had been informed of the potential auditing of his messages and that his position as a law enforcement officer indicated his likely awareness of scrutiny of his actions and that such scrutiny may involve examination of his communications during the work hours. Next, the Supreme Court concluded that the search of Quon’s messages was motivated by a proper purpose, that it was tailored to the problem at hand and had been reasonable in scope. The Court did not give much weight to the availability of less intrusive methods by the city to achieve the same goal.

Efficiency or privacy?

With respect to the Amazon patents, the question before the courts will be whether the additional intrusive step of controlling and directing an employee is justified by the expected incremental improvement in efficiency and productivity resulting from the patents. In the long run, the answer may lie in the public’s acceptance of the trade-off between efficiency and privacy in response to new technology.

The U.S. Patent and Trademark Office recently granted Amazon two patents directed to remote control of human hands. The Amazon patents are able to obtain and record users’ location and the detailed movements of their hands. Therefore, highly private information such as when an employee takes a bathroom break or pauses to scratch may be obtained and recorded by the patented system. That, in turn has led to concerns that the patents could violate protected privacy rights of employees under the Fourth Amendment to the U.S. Constitution. The Fourth Amendment applies to government actions, and would be implicated in a legal challenge to the Amazon patents, since patents are issued and enforced by the government. In addition, Amazon patents can run afoul of state statutes and common law privacy protections, which have adopted similar Fourth Amendment privacy standards.

Related: Here Are 6 Weird Ways You’re Being Tracked in the Real World

Article I Section 8, Clause 8 of the U.S. Constitution, also known as the Patent and Copyright Clause authorizes Congress to grant inventors and authors exclusive rights to their respective inventions and works of authorship for limited periods of time. Under current law, patents enjoy a 20-year monopoly period, backed by the power of Federal Government.

The rest of this article is locked.

Join Entrepreneur+ today for access.

Subscribe Now

Already have an account? Sign In

Dariush Adli

Founder and President of ADLI Law Group at ADLI Law Group
Dr. Dariush Adli, Ph.D., Esq., is the founder and president of ADLI Law Group. His practice focuses on business and intellectual property litigation, media and entertainment, real estate, products liability, family law, labor and employment, and transportation law.

Related Content